オーダーサウナ規格図面 KM-6(6~7人用)
オーダーサウナ・ビルトインサウナ規格図面一覧

製品仕様
| 形式 | KM-6 |
|---|---|
| 定格電圧 | 200V |
| 定格相数 | 三相 |
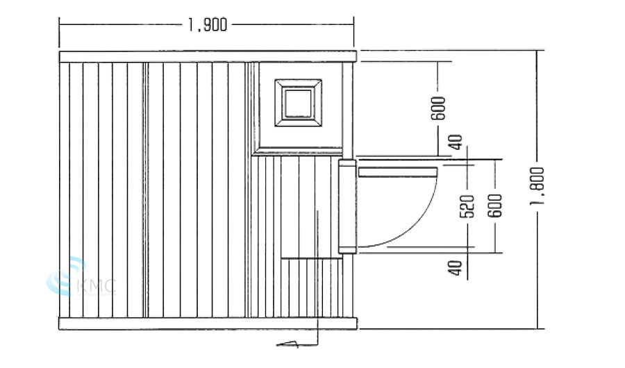
| 寸法(ミリ) | 幅1,900×奥行1,800×高さ2,150 |
| 収容人員 | 6~7人 |
| 消費電力 | 4.5kW |
| 温度 | ~最大120℃ |
| 参考価格 | 3,100,000円~ |
形式
- KM-6D型
- メラミン化粧合板、スプルス柾目実板張り防湿ドアー、ステンレスコーナー
その他、寸法変更、ロウリュ・総ヒノキ・ビルトインサウナ・屋外置き(注1) 仕様などご要望に応じてお見積り差し上げます。
- (注1)浴室内や庭・屋上・ベランダなどの屋外で使用する場合は防水耐水処理・屋根加工等が別途必要です。
- ※設置の際に一次電源200Vの引き込み工事(屋内ブレーカーよりサウナ設置場所まで)が必要になります。
図面




- ※通常の納期は、受注生産の為、正式なご注文より3週間程です。
- ※冬場の繁忙期は、1か月以上かかる場合もございます。
- ※専門スタッフが、現地にて組立て設置・動作確認致します。
- ※使用法・お手入れ・注意事項等、丁寧にご説明差し上げます。
選べるセラミックレンガ
ヒーター回りの無償カラーセレクト
お好みで①ライトブラウン(3色ミックス)又は ②ブラウン(2色)から無償カラーセレクトが可能です。


①B-1ライトブラウン(3色ミックス)


②B-3ダークブラウン(2色ミックス)
セラミックレンガの優れた特徴
- セラミックスのタイルは重厚で高級感がある。
- 熱を加えると遠赤外線が発生します。
- 皮膚との接地面積が少なく触れた際に火傷し難い。
- 焼き物なので耐熱温度は約500℃です。
- 1枚約140gと超軽量な為、構造体に負荷を掛けない。
- 1250℃で焼成し比重は約0.85です。
ヒーター回りの有償カラーセレクト 47,000円税別 (51,700円税込)
B-51 ホワイト
B-5 ライトベージュ
B-4 ブラックブラウン
※その他のタイルについてはご相談ください。


